产品中心
解决方案
客户案例
首页
jdb电子游戏变脸玩法
产品中心
master电子游戏
客户案例
配件与服务
mg亚洲最大的电子游戏
关于我们
联系我们
一键拨打
产品百科
mg亚洲最大的电子游戏
客户案例
视频中心
17yy经典小游戏 图库
产品百科
振动筛旋振筛常见故障及处理方法
序号故障现象可能原因处理方法一电源接通后…
【详情】
振动筛分机旋振筛使用说明及注意事项
S49-A系列三元旋振reg筛介绍S49…
【详情】
振动筛和旋振筛、摇摆筛、直排筛、直线筛区别
振动筛和旋振筛、摇摆筛、直排筛、直线筛区…
【详情】
中国河南新乡振动筛厂家是哪家好
中国河南新乡振动筛厂家是哪家好?“17yy经典小游戏 r…
【详情】
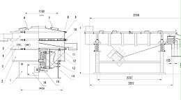
振动筛图纸结构图原理图
振动筛是筛分设备的统称,振动筛主要有精细…
【详情】
3
/
6
首页
上一页
2
3
4
下一页
末页
map